Documents
VP 50-0.1
Laboratoires et Analyses
•Fin de ligne, prise de gaz pour paillasses
•Vanne d'arrêt intégrée
•Adapté aux gaz purs
•En laiton chromé
Conçu pour la mise en œuvre de: Gaz purs
DESCRIPTION
Domaines d'application :
Les fins de ligne VP constituent le terminal d'un réseau de distribution de gaz dans les laboratoires. Ils permettent la fixation et la connexion rapide et simple de divers. Spécifications: Elle se fixe sur une paillasse ou sous une tablette.
Spécifications
Domaines d'application :
Les fins de ligne VP constituent le terminal d'un réseau de distribution de gaz dans les laboratoires. Ils permettent la fixation et la connexion rapide et simple de divers. Spécifications: Elle se fixe sur une paillasse ou sous une tablette.
Spécifications
Économique :
Permet le montage rapide et en fonction de l'évolution des besoins, d'équipements divers tels que détendeurs, débitmètres, vannes de réglage.
Pratique :
La version paillasse permet une connexion gaz au plus près des appareils ou des analyseurs.
SPECIFICATIONS TECHNIQUE
| Ref. | VP_50_0_1 |
| Corps | Laiton chromé (Contient du plomb) |
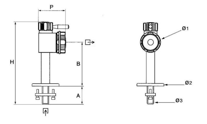
Encombrement
H:230.0000 MILLIMETER
D:61.0000 MILLIMETER
Diam1:45.0000 MILLIMETER
Diam2:50.0000 MILLIMETER
Poids net1.3000 KILOGRAM
H:230.0000 MILLIMETER
D:61.0000 MILLIMETER
Diam1:45.0000 MILLIMETER
Diam2:50.0000 MILLIMETER
Poids net1.3000 KILOGRAM
Sécurité & Transport
Attention ! En cas de mise en oeuvre de l'oxygène et des gaz comburants, la pression d'utilisation ne doit pas dépasser 25 bar.
Attention ! En cas de mise en oeuvre de l'oxygène et des gaz comburants, la pression d'utilisation ne doit pas dépasser 25 bar.
Votre produit